接连十场官司,不惜把下游客户拖下水,奥特维为何死磕光远智能?

钛度号
专利诉讼十多起,奥特维已成告状专业户。

文 | 赶碳号科技

最近,晶科和隆基才就双方的专利纠纷达成和解,也为光伏电池企业火热的专利战降了降温。然而,在光伏设备环节,这种休战、止战的事情并没有发生。

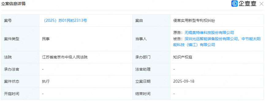
9月18日,光伏设备商龙头奥特维再次起诉深圳光远智能科技股份有限公司。奥特维认为,光远智能侵犯其实用新型专利权。本次起诉法院为南京市中级及人民法院,案件将于11月11日开庭审理,案号为(2025)苏01民初2313号。

专利诉讼十多起,奥特维已成告状专业户


奥特维本次起诉光远智能,已经是其自2024年使用专利维权发起的专利纠纷中的第十起,且所有的被告均包括了光远智能。看到这一统计结果,笔者有些震惊。在此之前,一个公司针对另一家公司发起数十起专利诉讼的,似乎只有晶科。

奥特维自2024年开始的涉诉统计

所以,奥特维现在在设备端掀起的系列专利诉讼数量,已然雄冠整个光伏圈,妥妥的告状王。

2024年8月,针对(2024)苏05民初174号诉讼在苏州中院开庭,庭审焦点围绕光远智能设备是否落入奥特维专利保护范围而展开。

同一个月,针对(2024)苏02民初258-261号诉讼在无锡中院开庭,庭审焦点涉及多台涉嫌侵权设备的使用及销售行为认定。

除了上述奥特维作为原告的案件以外,值得注意的是,奥特维自身也于2024年12月成了专利诉讼的被告。光伏设备企业——捷佳伟创以侵害技术秘密纠纷为由,将奥特维告上法庭。该案于2024年12月19日在江苏徐州中院开庭。

总体来看,奥特维还是以主动出击为主,通过专利诉讼进行维权的意愿非常强烈。

奥特维为什么要不停地打专利官司?

直接原因就是专利侵权。奥特维认为,光远智能装备制造并销售的产品,侵犯了其拥有的实用新型专利权和发明专利权,这是诉讼发生的法律层面的直接原因。

奥特维不停打专利官司的深层次原因,则是在光伏设备环节行业内卷加剧的展现。光伏正在反内卷去产能,没有新增产能,光伏卖铲人就没饭吃。在大家都已经没饭吃的存量博弈之下,消灭竞争对手当然就变得很重要。

2025年第一季度,奥特维出现了上市以来首次营收和净利润大幅下滑。同时,行业产能过剩导致下游客户付款延迟,其应收账款大幅上升。在这种背景下,对友商持续发起专利战,既是一种主动进攻,也是一种防御性自救,旨在通过排除低价竞争者,保护自己的市场份额和利润空间。

具体来看:

第一,奥特维和光远智能在光伏组件设备领域是直接竞争对手,双方的核心产品高度重叠,都包括多主栅串焊机、无损激光划片机等。

根据公开信息,本轮诉讼主要围绕光伏组件制造环节的设备,但具体的涉案设备型号或名称并未披露。

奥特维与光远智能的产生直接竞争关系的设备包括;

1. 多主栅高速串焊机;

2. 无损激光划片机。

业内普遍推测,这多起专利战也是与这两款产品相关的关键部件和技术有关。具体这些诉讼涉及到什么技术,我们也可以从专利无效程序中获得相关信息和线索。

第二,企业知识产权维权意识在提升。

目前,大多数企业对于知识产权的认知还停留在多申请专利,进行适当的专利布局这一层面。不少企业申请了大量专利,获得了大量证书,却并没有将这些专利资产盘活。

最近这两年,电池环节的多起诉讼唤起了设备端企业的维权意识。随着光伏行业进入激烈内卷期,价格战已难以建立持久优势。作为头部企业的奥特维也开始转向通过构建专利壁垒来保护研发成果,巩固市场地位,并打击像光远智能这样的竞争对手。

公开数据显示,奥特维拥有授权有效专利2056件,其中发明专利338件,实用新型专利1709件,涉及串焊机的专利678件。

而光远智能则共拥有授权有效专利133件,其中发明专利19件,实用新型专利114件,涉及串焊机的专利107件。

从数据层面看,奥特维已经全面碾压光远智能,可以起诉光远智能的专利应该不在少数。奥特维这么多专利,曾经也是花费了大量人力财力的,如今,是时候让这些专利资产变成武器、发挥专利价值了。

当然,光远智能至今没能反诉奥特维,可能的确因为手中“弹药不足”。

神仙打架,电池组件企业遭殃

奥特维在提起诉讼时,不仅起诉了直接竞争对手——光远智能装备,还连带起诉了后者的客户——中节能和赛拉弗。

国内装备领域也曾出现过一些专利诉讼,但大多是设备厂商只起诉设备厂商,还很少有企业连同友商的客户一起告的。毕竟,这些客户以后也可能成为自己的客户。

所以,不把火烧到客户身上,已经是一种默认的行规,这样可以避免专利诉讼的影响扩大。同时,诉讼的目的还是为了多卖自家设备,如果把客户也一起告了,那么就算是赢了诉讼,也很有可能丢了客户。除非奥特维认为自己根本 不不发愁客户,也不太需要像中节能、赛拉弗这种体量和规模的客户,才敢一横心连他们也一起列为被告,哪怕中节能是央企。

奥特维将客户列为被告,的确有专利法的支持——制造设备属于制造侵权,而而使用侵权设备属于使用侵权。如中节能和赛拉弗,使用了光远智能的“光伏组件串焊机”用于生产TOPCon电池和组件。奥特维官司如果能打赢,就会给这这两家企业带来不小的损失。当然,奥特维的这一行动也难免让自己的现有客户内心犯嘀咕。

首先,在诉讼判决出来之前,电池厂商采购的“侵权设备”则大概率会被法院封存而停工,这将直接影响到电池企业的生产进度,对企业的资金流动和交付造成巨大影响。

即便从司法审慎性角度,法院可能考虑 “侵权产品使用者主观过错” 这一要件,若客户能证明其不知设备侵权、且已尽到合理审查义务(如要求中节能和赛拉弗提供专利合规承诺),则可能免除赔偿责任;但应诉的成本仍然十分巨大,必将耗费电池企业的精力和成本。

其次,若法院判决电池企业须承担连带责任,则将直接面临赔偿责任。严重一点,电池组件厂可能被迫更换设备供应商,这无疑会成为额外的负担。

另外,主动起诉使用设备的客户,这在奥特维的现有客户看来,自己打交道的是如此强势的“乙方”,今后续约或许也要三思而行。

虽说,奥特维起诉“侵权设备”的“使用方”法律上没有问题,此举可以一定程度上影响客户的选择权,下游客户为规避诉讼风险,可能减少对光远智能等设备商的采购,转而优先选择奥特维的设备,这或许有助于奥特维巩固在串焊机等核心产品领域的市场份额(目前市占率超40%)。但是,本着和气生财的原则,作为竞争对手的两方参与到诉讼或许更加符合我国国情与公序良俗。

当然,本轮专利纠纷案件也将倒逼光伏电池企业,在采购设备时需要更加审慎地评估供应商的知识产权风险。一旦设备商陷入专利纠纷,作为客户也可能面临生产受阻和经济损失的风险。

和解的可能有点渺茫

晶科、隆基的和解,具有一定参考意义。但是,奥特维和光远能否和解,我们可以从以下角度来考虑。

首先,对于诉讼成本的承受能力不同。

本轮奥特维针对光远智能的诉讼全部发生在国内,没有一起涉及国外。相比国外动辄500万以上的起诉讼成本来说,国内的诉讼成本低得多。而奥特维作为行业内龙头企业,自然负担得起起这十几件诉讼案的成本。但对于光远智能而言,长期诉讼的时间成本(如频繁应诉、举证)和资金成本(如律师费、保全担保费)可能构成巨大压力。作为头部企业的奥特维如果拒绝和解,则可通过 “持久战” 不断拖耗对手的资源——就像宁德时代在海辰储能、中创新航上市前不停地发动专利战一样。奥特维如果坚持下去,光远就有可能因无法承担成本而放弃侵权业务,或被迫退出特定市场。

其次,设备侵权与电池侵权取证难度不同。

对于电池和组件端的专利诉讼,由于多数专利涉及电池片的物理结构和生产工艺,在取证时存在极大的难度。比如,有时需要解释某些专业知识,有时还要聘请本领域具有权威的专家,难度不小。

对于电池而言,电池厂商的核心工艺(如镀膜时长、退火温度)属于商业机密,通常仅由少数技术人员掌握,且不会在产品宣传中披露。专利权人难以通过公开渠道获取工艺细节。若向法院申请调取侵权方的生产记录、工艺文件,对方可能会以 “商业秘密” 为由拒绝提供,或提前篡改、隐匿相关数据。

而相比于电池而言,设备侵权的取证要容易很多。

本轮诉讼,奥特维可能就会通过公证购买光远的光伏串焊设备,即可初步固定设备的外部结构及核心部件特征。当初步确认侵权时,即可向市场监管部门举报或向法院申请 “现场勘验”。执法人员可直接进入生产场地,对设备的结构、型号、运行状态进行拍照、录像甚至查封,证据固定过程直观而且高效。

如果不采取购买的方式,也可以直接进入设备处在生产状态的车间进行取证,比如中节能和赛拉弗的电池/组件生产车间(当然,这种方式需要遵守相关法律的规定)。

在获取到实物证据之后,对于设备的侵权比对也就更加直观。只要通过零部件拆解、说明图纸等比对判断,至于证据的公证,只要通过有资质的鉴定机构即可。

因此,奥特维的取证难度并不高,其展示出来的证据对光远智能而言,可以很直观地判断是否侵权。

第三,两家公司并不是一个重量级的对手。

双方如果和解,必然会有利益交换。从目前两家公司手中的筹码来看,奥特维在各方面都拥有绝对优势。光远手中有没有奥特维感兴趣的筹码可能是关键。

从专利角度来讲,光远智能甚至都没有能力反诉奥特维专利,那就谈不上进行专利交叉许可的可能了。而且,持续保持对光远智能压迫式的专利战,反而会 增强奥特维的信心。如果双方和解,给奥特维带来的收益也只能是短期收益。况且,一点赔偿金奥特维可能根本看不上,彻底将光远挤出局才是终极目标。

第四,奥特维已经尝到了诉讼的甜头。

此前,有消息表明,奥特维已经在今年9月的一审判决中获得了较为有利的地位。该起案件是奥特维起诉光远智能和中节能的其中一起,案件号是(2025)苏01民初500号,该起案件的起诉时间为2025年2月。

商场有时和自然界很像。赶碳号忽然想到,自然界中狮子往往就会主动搜寻鬣狗的巢穴,杀死未断奶的鬣狗幼崽,从根源上削弱鬣狗种群,从而减少未来的竞争压力。为了生存和发展,这都没有错。

本文系作者 赶碳号科技 授权钛媒体发表,并经钛媒体编辑,转载请注明出处、作者和本文链接
本内容来源于钛媒体钛度号,文章内容仅供参考、交流、学习,不构成投资建议。
想和千万钛媒体用户分享你的新奇观点和发现,点击这里投稿 。创业或融资寻求报道,点击这里

敬原创,有钛度,得赞赏

赞赏支持
发表评论
0 / 300

根据《网络安全法》实名制要求,请绑定手机号后发表评论

登录后输入评论内容

快报

更多

2025-10-19 22:20

远景科技集团董事长张雷:未来能源企业核心竞争力,将是人工智能资产

2025-10-19 22:19

罕见病创新药奥德昔巴特开出中国首方,用于“进行性家族性肝内胆汁淤积症”治疗

2025-10-19 21:54

下周(10月20日-26日)市场大事预告

2025-10-19 21:43

武汉经开区:购买首套新房可享受最高4万元贷款利息补贴

2025-10-19 21:21

中国重汽集团1-9月营收228.9亿美元

2025-10-19 21:14

交通运输部发布《国际绿色航运走廊合作倡议》

2025-10-19 21:03

五粮液集团发布致消费者告知书,公布46家非授权店铺名单

2025-10-19 21:01

紫金黄金国际:Q3净利润3.85亿美元

2025-10-19 21:00

中小银行提前2个月部署“开门红”

2025-10-19 20:59

国家数据局局长刘烈宏:正加快培育全国一体化数据市场

2025-10-19 20:34

十余家A股上市公司本周披露并购重组最新公告

2025-10-19 20:20

云南省商务厅:11月1日起暂停2025年云南省汽车报废及置换更新补贴申请

2025-10-19 19:57

10月19日新闻联播速览17条

2025-10-19 19:54

受台风影响,琼州海峡将停运

2025-10-19 19:52

均胜电子通过港交所上市聆讯

2025-10-19 19:44

文远知行通过港交所上市聆讯

2025-10-19 19:44

中信建投:缩量轮动继续,风格切换已起

2025-10-19 19:43

杠杆资金本周重仓股曝光,紫金矿业居首

2025-10-19 19:41

全球最大轮胎在吉林玲珑成功下线

2025-10-19 19:37

受冷空气和台风共同影响,福建55条客渡运航线停航

扫描下载App